A Simple Solution In an age of technologically advanced solutions for everything, BMW has crafted a unique and simplistic solution to a se...
A Simple Solution
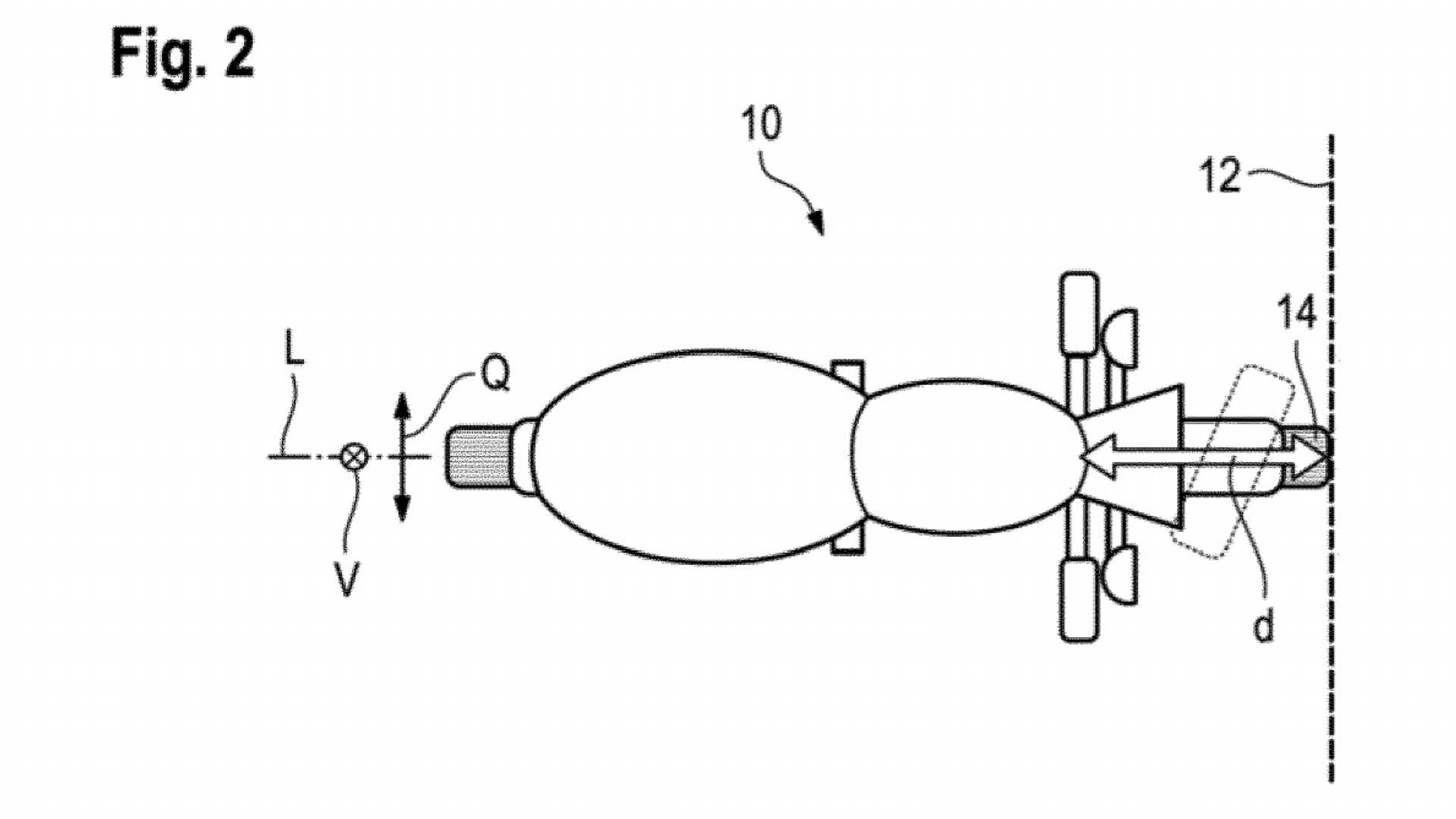
In an age of technologically advanced solutions for everything, BMW has crafted a unique and simplistic solution to a serious problem—head-on collisions. The company recently patented a new safety idea that was spotted by RideApart. The idea behind the patent is that a wheel out front is smart in that it works as a crumple zone for the motorcycle. The way it works is that it keeps a motorcycle wheel pointed forward in a collision.
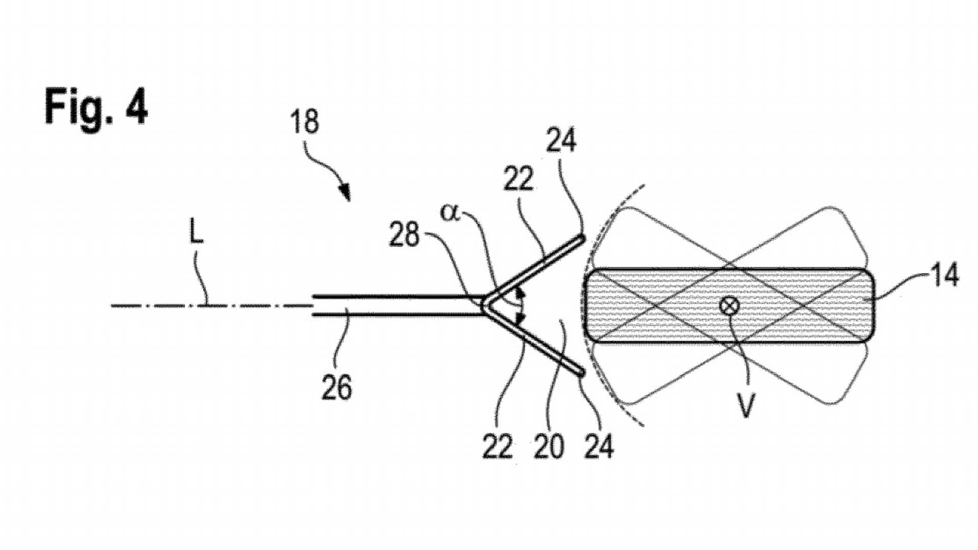
The equipment needed to make this happen is super simple. BMW’s patent is a simple V-shaped metal piece that mounts to the frame and sit directly behind the motorcycle’s front wheel. If you get into an accident, the wheel is forced into the V-shaped metal piece and that keeps the wheel pointing forward, creating your small crumple zone. It’s also worth noting that keeping the wheel straight in a head-on collision will keep the bike from defecting off an obstacle and throwing the rider to one side or the other.
Of course, in a serious head-on collision, the rider will simply go right over the handlebars, no matter what way the front wheel is pointing. This solution has limited use, but it’s still a simple and low-cost solution that can help in an accident. I like where BMW’s head is at here. While I have my reservations about the idea and its effectiveness, I like that the German company is thinking outside the box and trying to find simple solutions to real problems.
The post BMW Patents a Collision Protection Device appeared first on webBikeWorld.
from webBikeWorld https://ift.tt/2uX1VPi



COMMENTS